首页
AI内容归档
AI新闻/评测
AI基础/开发
AI工具应用
AI创意设计
AI行业应用
AI行业应用
AI相关教程
CG资源/教程
在线AI工具
全网AI资源导航
青云聚合API
注册送免费额度
300+大模型列表
详细的教程文档
关于青云TOP
青云TOP-AI综合资源站平台|青云聚合API大模型调用平台|全网AI资源导航平台
行动起来,活在当下
累计撰写
5205
篇文章
累计创建
1860
个标签
累计收到
0
条评论
栏目
首页
AI内容归档
AI新闻/评测
AI基础/开发
AI工具应用
AI创意设计
AI行业应用
AI行业应用
AI相关教程
CG资源/教程
在线AI工具
全网AI资源导航
青云聚合API
注册送免费额度
300+大模型列表
详细的教程文档
关于青云TOP
目 录
CONTENT
以下是
AI创意设计
相关的文章
2026-01-23
如何在 NVIDIA RTX PC 上开始使用视觉生成式 AI
本文是 NVIDIA RTX AI Garage 系列教程,指导您如何在本地 RTX PC 上使用 ComfyUI 运行先进的图像和视频生成工作流。我们将介绍如何安装 ComfyUI,利用 FLUX.2 和 LTX-2 等最新模型进行本地创作,并提供 VRAM 考量和提示词技巧,助您释放 RTX PC 的全部生成式 AI 潜力。
2026-01-23
2
0
0
AI新闻/评测
AI工具应用
AI创意设计
2026-01-22
美国近 800 名创意人士联名呼吁:我们不想要一个充斥“AI 垃圾”的未来
近 800 名来自美国文学、影视和音乐领域的知名创意人士联名发表公开信,强烈抗议人工智能公司在未经许可或未支付报酬的情况下,大规模抓取和复制他们的作品用于训练生成式 AI 模型。此次行动由“人类艺术性运动”推动,核心诉求是建立AI训练内容的授权机制和执法体系,并保障创作者选择不被用于训练的权利。他们警告,这种“规模空前的盗窃”正在制造充斥错误信息和低质量内容的未来,可能威胁美国在全球AI竞争中的地位。
2026-01-22
2
0
0
AI新闻/评测
AI行业应用
AI创意设计
2026-01-22
Higgsfield如何将简单的想法转化为电影感的社交视频
Higgsfield利用OpenAI的GPT-4.1、GPT-5进行规划,并结合Sora 2进行视频生成,将简单的产品链接或想法转化为符合社交媒体原生风格的电影级短视频。平台能为独立创作者提供媲美专业创意团队的制作水准,并能自动生成病毒式传播所需的结构。
2026-01-22
0
0
0
AI新闻/评测
AI创意设计
AI行业应用
2026-01-22
YouTube将很快允许创作者使用自己的AI形象制作Shorts短视频
YouTube首席执行官Neal Mohan宣布,创作者很快就能使用自己的AI数字形象来制作YouTube Shorts。此举旨在扩展Shorts的功能,并提供新的AI工具,同时YouTube也在加强措施,防止未经授权使用创作者的数字形象。
2026-01-22
0
0
0
AI新闻/评测
AI工具应用
AI创意设计
2026-01-20
AI 语音克隆工具 ElevenLabs 推出可定制的语音合成模型,定制流程更快捷
AI 语音合成领域的领导者 ElevenLabs 近日发布了其定制化语音模型功能(Custom Voice Model),旨在为用户提供更快速、更灵活的个性化声音合成服务。该工具允许用户通过上传高质量音频样本,快速训练出高度逼真且具有用户独特语调和口音的AI语音模型。ElevenLabs强调,定制流程简化后,用户能更快地部署专属的AI配音解决方案,特别适用于内容创作者和专业媒体制作领域,显著提升了AI在语音应用中的定制化和易用性。
2026-01-20
0
0
0
AI基础/开发
AI工具应用
AI创意设计
2026-01-17
全新 ChatGPT 图像现已上线
OpenAI 正式推出全新的 ChatGPT 图像功能,由其最新的旗舰级图像生成模型驱动。新模型支持更精准的编辑,能在保持人物等关键细节不变的情况下,实现最高提升 4 倍的生成速度。此次更新将逐步向所有 ChatGPT 用户开放,并在 API 中以 gpt-image-1.5 形式提供,极大地增强了图像创作的实用性和效率。
2026-01-17
0
0
0
AI新闻/评测
AI工具应用
AI创意设计
2026-01-17
告别面瘫:EMO机器人AI自学掌握对口型,可精准模拟人类表情
哥伦比亚大学的研究团队成功开发出EMO机器人面部系统,该系统旨在解决仿人机器人在实现自然交互时面临的关键挑战——唇形与语音的精准同步。EMO机器人通过先进的“视觉-动作”(VLA)语言模型实现自我学习,它先通过观察镜中自己的运动来建立本体感知模型,随后通过分析人类视频中的音频与口型映射关系,掌握了实时生成高度吻合唇部动作的能力。这种AI驱动的自学机制使得EMO能够模拟复杂的面部表情,极大地提升了人机交互的真实感,标志着机器人面部表情技术的一大进步。
2026-01-17
1
0
0
AI基础/开发
AI工具应用
AI创意设计
2026-01-17
生成式AI对创意产业的颠覆性影响
生成式人工智能(Generative AI)正在以前所未有的速度重塑创意产业的格局,从音乐、写作到电影制作等多个领域都受到了深远影响。AI工具不仅提高了内容生产的效率,也引发了关于版权、工作岗位以及艺术真实性的深刻讨论。许多艺术家和内容创作者正在探索如何将这些尖端技术融入到他们的创作流程中,以期在新的技术浪潮中保持竞争力。然而,对于AI生成内容的伦理边界和未来发展方向,行业内仍然存在广泛的争议和观望。
2026-01-17
1
0
0
AI创意设计
AI行业应用
AI新闻/评测
2026-01-16
智谱联合华为开源新模型GLM-Image,基于国产芯片全程训练,登顶Hugging Face全球第一
智谱AI联合华为开源的新一代图像生成模型GLM-Image,在开源不到24小时内即登顶Hugging Face社区榜单全球第一,标志着国产AI模型在端到端自主研发能力上取得了重要突破。该模型是首个完全依托国产芯片(昇腾Atlas 800T A2)和昇思MindSpore框架完成全程训练的SOTA多模态模型。GLM-Image在复杂视觉文本生成和长文本渲染等关键基准测试中表现卓越,尤其擅长汉字生成任务,API调用生成单张图片成本仅需0.1元,极大降低了先进图像技术的应用门槛。
2026-01-16
1
0
0
AI基础/开发
AI创意设计
AI行业应用
2026-01-16
AI视频初创公司Higgsfield完成融资,估值达13亿美元
AI视频生成初创公司Higgsfield通过延长其A轮融资,额外募集了8000万美元,使总额达到1.3亿美元,公司估值飙升至13亿美元。该公司由前Snap高管创立,其工具已吸引超过1500万用户,年收入运行率达到2亿美元,显示出惊人的增长势头。
2026-01-16
0
0
0
AI新闻/评测
AI工具应用
AI创意设计
2026-01-14
人工智能可以激发创造力——如果我们教它如何思考,而不是思考什么
人工智能有潜力成为研究人员的创意伙伴,帮助触发和激发新想法。然而,实际应用中,AI常使创造力扁平化。本文探讨了如何通过引导AI“如何思考”而非“思考什么”,来真正释放其激发人类创新的潜力。
2026-01-14
0
0
0
AI新闻/评测
AI创意设计
2026-01-13
华特迪士尼公司与 OpenAI 达成重大协议,将迪士尼品牌的经典角色引入 Sora
迪士尼与 OpenAI 达成一项重要的三年期授权合作协议,Sora 将获得授权使用迪士尼、漫威、皮克斯和星球大战等品牌的 200 多个经典角色生成短视频内容。迪士尼还将投资 10 亿美元股权,并计划将 Sora 生成的短视频上线 Disney+,同时在内部及 Disney+ 产品中使用 OpenAI 的 API 和 ChatGPT。
2026-01-13
1
0
0
AI新闻/评测
AI行业应用
AI创意设计
2026-01-12
AI生成式图片泄露了图像的真实性
生成式AI工具在图像创作领域正以前所未有的速度发展,但其固有的局限性也暴露了数字图像的真实性挑战。近期研究发现,AI生成的图像中普遍存在难以察觉的错误和伪影,这使得区分真实照片与合成图片变得日益困难。这些AI模型在处理特定细节,如人物的手部、文字结构或复杂的光影时,常常出现逻辑性错误。这些瑕疵不仅影响了AI图像的艺术价值,更引发了社会对深度伪造(deepfakes)和信息误传的担忧。专家呼吁,开发更可靠的图像溯源和检测技术,以应对AI时代信息真实性的新考验。
2026-01-12
1
0
0
AI创意设计
AI新闻/评测
2026-01-11
AI“爆改”索尼游戏三大女主引发争议:欧美网红风妆容引玩家吐槽
近日,有推主利用AI技术对索尼旗下《地平线》的埃洛伊、《漫威蜘蛛侠》的MJ以及《最后生还者》的艾莉三位知名女主角进行了“爆改”。经过AI美化后,角色都采用了统一的欧美网红风妆容,虽然看起来更漂亮,但却完全失去了原有的独特气质与游戏背景的契合度。许多玩家认为,这种过度修饰的形象显得突兀,并对部分PlayStation游戏角色设计中迎合“觉醒文化”的趋势表达了不满,引发了关于AI在游戏角色塑造中应用界限的广泛讨论。
2026-01-11
0
0
0
AI创意设计
AI行业应用
2026-01-11
AI能作画,为何还要学画画(艺坛走笔)
面对AIGC的浪潮,人们开始质疑学习绘画的必要性。本文深入探讨了AI时代下艺术教育的价值,强调绘画学习的核心在于过程中的心智锤炼、审美素养的提升以及创造力的培养。掌握审美判断力是驾驭AI的关键,并指出艺术实践是实现人类价值的深层途径。
2026-01-11
0
0
0
AI创意设计
AI行业应用
2026-01-10
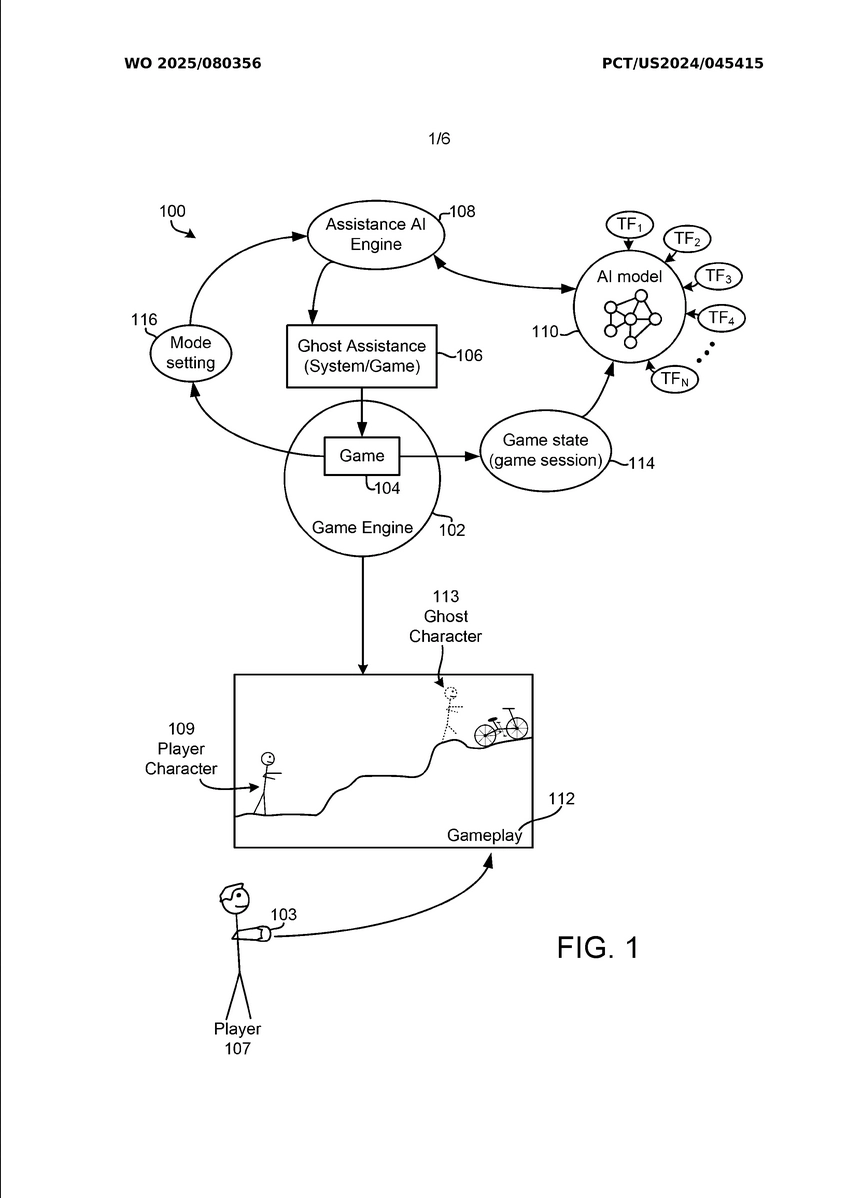
索尼新专利曝光:游戏卡关过不去,AI 直接帮你打
索尼近期获得一项名为《AI 生成幽灵玩家》的专利,旨在解决玩家在游戏过程中卡关的问题。该系统能实时分析玩家的游戏状态,包括装备、血量和位置等,并在当前画面上生成半透明的“幽灵角色”进行演示。幽灵角色不是播放预录像,而是基于实时数据演算,精确演示如何通过困难关卡或解谜环节。此外,系统提供“完成模式”,允许AI直接接管控制权,自动操作角色通过高难度战斗,让玩家能无缝体验后续剧情。
2026-01-10
1
0
0
AI工具应用
AI创意设计
AI行业应用
2026-01-10
X 将 Grok 图像生成功能限制为付费订阅用户,此前曾引燃全球怒火
X(前身为 Twitter)已将旗下 AI 聊天机器人 Grok 的图像生成功能限制为仅对付费订阅用户开放。此举是在 Grok 因生成争议性图像内容而引发广泛批评之后采取的行动,旨在通过付费墙来规范内容生成并提升平台体验。
2026-01-10
0
0
0
AI新闻/评测
AI创意设计
AI行业应用
2026-01-10
X并未修复Grok的“去衣”问题,只是让人们为此付费
在生成数千张女性“去衣”图片和疑似未成年人色情图像后,埃隆·马斯克的X平台限制了Grok的图像生成权限。专家批评此举是“滥用的商业化”,因为付费用户仍可生成此类内容,且Grok的独立应用和网站上的限制也形同虚设,并未从根本上解决问题。
2026-01-10
0
0
0
AI新闻/评测
AI创意设计
2026-01-09
iPolish 推出可变色智能美甲,售价 99 美元
iPolish 推出了一款创新性的可变色智能美甲产品,售价为 99 美元,为美甲时尚领域带来科技变革。这款智能美甲允许用户通过智能手机应用实时更换指甲颜色和设计,提供前所未有的个性化和便利性。它结合了柔性电子技术和微型LED,使用户能够根据心情、场合或着装快速定制外观。该产品瞄准追求个性表达和前沿科技的时尚消费者,预示着可穿戴智能设备在美容和个人护理领域的巨大潜力。
2026-01-09
1
0
0
AI工具应用
AI创意设计
2026-01-09
CES 2026迄今最奇特的科技产品
CES 2026 盛会上,除了科技巨头的重磅发布,最引人注目的是那些令人意想不到的古怪小工具。本文精选了从人工智能熊猫机器人、全息动漫助手,到超声波厨师刀和能用骨传导播放音乐的棒棒糖等一系列最奇特的科技产品,展现了CES的创新与怪诞并存的魅力。
2026-01-09
0
0
0
AI新闻/评测
AI工具应用
AI创意设计
1
2
3
4
5
...
13